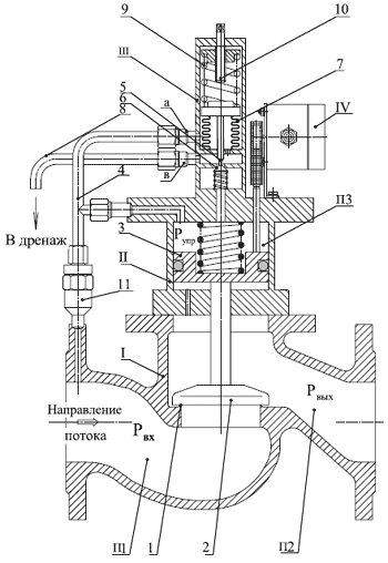
КЛАПАНЫ
Клапаны сбросные (АРТ-87)
Ду 80-200
ПРИНЦИП ДЕЙСТВИЯ
I - исполнительный клапан;
II - поршневой привод исполнительного клапана;
III - управляющий клапан;
IV - сигнализатор положения;
1 - седло клапана;
2 - клапанная тарель;
3 - поршень привода;
4, 8 - импульсные трубки;
5 - золотник;
6 - седло золотника;
7 - сильфон;
9 - пружина;
10 – винт;
11 – фильтр.

Клапан сбросной состоит из исполнительного клапана I с поршневым приводом II и управляющего клапана III. Для передачи информации о срабатывании сбросного клапана и степени его открытия на пульт управления, клапан снабжён сигнализатором положения IV. Клапан сбросной работает по принципу регулятора давления «до себя». Направление потока рабочей среды через клапан показано стрелкой. Положение клапанной тарели 2 относительно седла 1 исполнительного клапана определяется положением золотника 5, связанного с чувствительным элементом управляющего клапана III – сильфоном 7, который нагружен с одной стороны входным давлением Pвх, поступающим по трубке 4 через штуцер «а», а с другой – настроечной пружиной 9. Вращением винта 10 устанавливается требуемое значение давления срабатывания сбросного клапана Pвх. При закрытом управляющем клапане III давление управления Pупр в полости П3 равно входному давлению рабочей среды Рвх (за счёт поступления рабочей среды по импульсной трубке 4 через штуцер «в») и исполнительный клапан I закрыт. Повышение входного давления Pвх до настроенного значения приводит к смещению сильфона 7 и золотника 5 в сторону его открытия. При этом давление Pупр в полости П3 снижается за счёт сброса рабочей среды из полости П3 по импульсной трубке 8 в дренаж и поршневой привод перемещает клапанную тарель 2 в сторону открытия. В результате происходит сброс рабочей среды со входа исполнительного клапана I в дренаж и рост давления Pвх прекращается. При падении давления Pвх сильфон 7 перемещает золотник 5 управляющего клапана III на закрытие. Давление Pупр возрастает и поршневой привод исполнительного клапана I перемещает клапанную тарель 2 на закрытие. Таким образом, осуществляется стабилизация давления на входе сбросного клапана.